Steam AI政策調整:「生成素材」、「即時運算」分開標註
发布时间:2026-03-20 03:24:12 作者:玩站小弟
我要评论
自今年年初开始,他就因爆粗口和恋情曝光而备受关注。赵丽颖现在。

遊戲平台 Steam 要求開發者必須主動揭露遊戲是否使用生成式 AI 進行開發,但因為 AI 技術所能實現功能變得更為多樣,平台重新修訂了登記規範,依照使用的類型不同,將「預先生成」、「即時生成」兩個項目拆分出來。
遊戲開發者 Simon Carless 在 LinkedIn 頁面中分享了 Steam 開發者規範的更新,原本的 AI 申告選項變為了兩個部分,分別是「使用 AI 生成遊戲內容」、「遊戲過程中生成 AI 內容」。
使用 AI 生成遊戲內容相信大家應該不陌生,就是利用 AI 創作圖片、影片乃至於程式碼等內容,使其可以快速產出材質貼圖、音效等。在 Steam 上無論是遊戲內還是宣傳資料都屬規範內,登記表有提供輸入框,讓開發者詳細說明 AI 素材被應用在什麼地方,並公告在 Steam 商店頁面中。
遊戲過程中生成 AI 內容方面,近期最有名的案例莫過於《煙雲十六聲》,NPC 的對話與互動方式不是遵循固定式腳本,而是根據玩家的行為,讓 AI 主動式的調整互動方案。雖然也是生成式 AI,但帶來的效果有著明顯的不同。
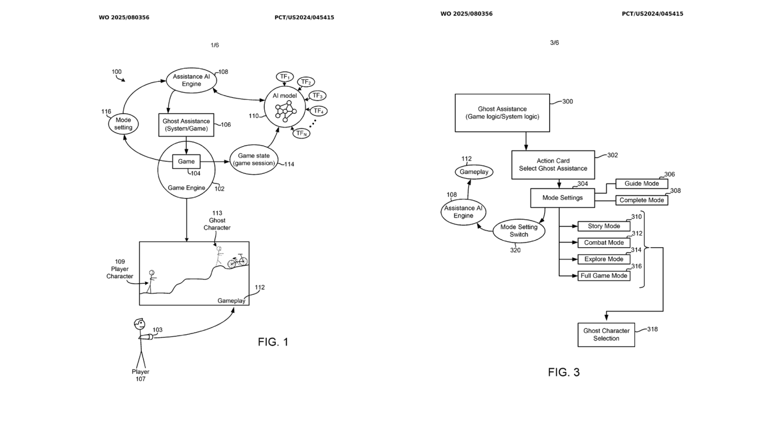
Steam 新定義的 AI 範疇早已有不少廠商正在研究,例如導入動態難度、智慧型輔助隊友等,像是 Sony 就註冊了新型幽靈隊友專利,會在玩家卡關時出現,引導應該如何移動、操作,甚至介入直接「代打」,不過這目前只是搶占登記,尚未實際應用。
